4001 中型止回閥
聯系我們
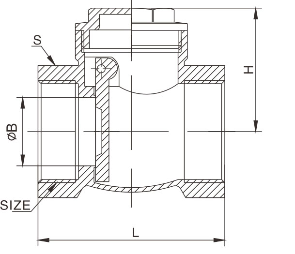
產品尺寸圖:

產品尺寸表:

注: 4001中型止回閥、4002重型止回閥 密封材料有銅密封和硅膠密封配件。
技術范圍:
1、公稱壓力: 1.6MPa
2、工作介質:水、油
3、工作溫度: -20℃≤t≤120℃
4、管螺絞符合ISO 228標準
同一系列


注: 4001中型止回閥、4002重型止回閥 密封材料有銅密封和硅膠密封配件。
1、公稱壓力: 1.6MPa
2、工作介質:水、油
3、工作溫度: -20℃≤t≤120℃
4、管螺絞符合ISO 228標準